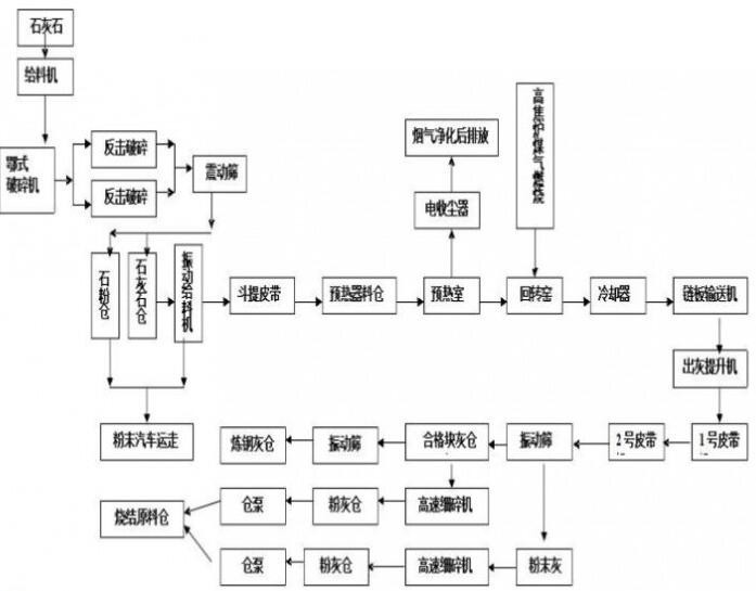
回转窑煅烧工艺流程图

点击次数:   更新时间:21/05/14 09:09:05     来源:关闭分    享:

  回转窑的种类多,在不同的行业领域中使用时都能有所适合的,比如化工行业、水泥行业等。从煅烧方法来看它可分为干法和湿法,为了帮助大家对其工艺有更好的了解,我们通过它的工艺流程来认识下。
  1、湿法回转窑煅烧的工艺流程是:原料进入生料仓后, 经充气均化后的生料喂入预热器, 回转窑内的生料和热气流进行热交换, 在到达旋风筒后进入分析炉内进行分解煅烧,之后在五级旋风筒煤进行料气分离,物料进入窑内接着煅烧,窑头收的粉尘与出篦冷机的熟料回合,经衬板输送机送入三个熟料库,冷却剂高温的地方热风经部分的摇头罩在窑内的部分作为二次风, 进入分解炉的部分作为三次风,冷却机中温段热风入煤磨烘干原煤,剩余的其他经电收尘除尘后排入大气中,对于废气,封过高温风机抽吸,再加上增湿降温后将作为原料系统的烘干热源或经窑尾除尘排出。
  2、水泥回转窑的工艺流程:主要是以石灰石和粘土为主要原料,经破碎、配料、磨细制成生料,喂入水泥回转窑中煅烧成熟料,加入适量石膏(有时还掺加混合材料或外加剂)送入窑内进行碾磨,在窑内燃烧产生热量,热量通过气体传导或者辐射对物料进行加热,同时随着窑体按照设计的斜度和转速不停转动,原料也在窑内周期性的翻滚前进,从而把原料由进料端输送到出料端。
  3、在回转窑煅烧工艺流程中需要大家注意回转窑轮带的结构,在设计其轮带的时候要遵循“铸件各部分冷却速度均匀”的原则,来减少铸造的适应能力,在轮带两侧要以挡板或挡圈来限制轮带沿回转窑筒体筒体轴向窜动。
  需要注意的是,回转窑煅烧过程中,为了提高物料煅烧的质量和产量,应尽可能的提高煅烧带的长度和温度,因为温度越高,煅烧带越长,物料煅烧的质量就越好,可以有效提高工作效率和工作质量。

回转窑煅烧工艺流程图

 

 

中国·yl23411永利(集团)官方网站-Green Moving Future 
公司地址:淄博市张店区共青团西路121甲1号8号楼412号
分公司地址:淄博高新区四宝山尚庄工业园
联系人:王贵香
手机:13864405188 
联系人:刘伟
手机:13964310299
电话:0533-2211486
E-mail:shengyuanyaolu@163.com
邮 编:255020